近日,北京高沃律师事务所代理吉林省A公司针对大连B公司持有的“一种液压油缸”实用新型专利(以下简称“涉案专利”)提起无效宣告请求。接受委托后,我所律师详细解读了涉案专利的技术方案,准确剖析涉案专利的缺陷,并系统检索全球范围内的现有技术文献,对关键证据进行提炼与整合。经过周密准备,我所律师向国家知识产权局提交了无效宣告请求,最终一击制胜,成功宣告涉案专利全部权利要求无效,维护了当事人的合法权益。
涉案专利技术解读
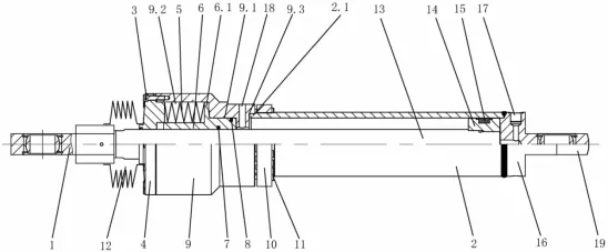
涉案专利权利要求1涉及一种液压油缸,包括第一缸筒、第二缸筒、第一活塞、第二活塞、缸尾和活塞杆,第一缸筒的一端与缸尾连接,第一缸筒的另一端与第二缸筒连接,第二缸筒远离第一缸筒的一端设置有压盖,活塞杆穿过压盖位于第一缸筒与第二缸筒内,第一活塞位于第一缸筒内,第一活塞与活塞杆一端固定连接,第二活塞位于第二缸筒内,第二活塞与活塞杆滑动连接;第二活塞与压盖之间设置有压缩弹性件;缸尾上设置有第一油口,第二缸筒上设置有第二油口,第二油口位于第一活塞与第二活塞之间。涉案专利提供的液压油缸如下图所示:

争议焦点
案件争议的焦点集中于涉案专利是否具有创造性。对此,我所律师根据涉案专利存在的多种缺陷,组织了多组不同类型的无效理由,对创造性的无效理由组织了多种证据组合方式,并巧妙地利用不同无效理由之间的影响,在无效程序中厘清了主要问题,最终在创造性评判中达到了无效请求人成功无效涉案专利的目的。
结语
此次无效宣告案件的成功,不仅彰显了高沃律师团队在专利确权与争议解决领域的专业实力,更体现了高沃知识产权“全心全意为客户创造价值”的服务宗旨。未来,高沃将持续深耕知识产权法律服务,以专业力量为企业发展保驾护航,助力企业在激烈的市场竞争中抢占先机、行稳致远。
律师简介
赵银安律师是兼具技术分析和法律经验的知识产权专业法律人才,具有中国律师和专利代理师双重资质;熟知国内知识产权相关法律法规,对知识产权行业有深入认识和开阔眼界,擅于为客户的知识产权问题提供整体解决方案;在企业知识产权保护、布局、确权和维权方面经验丰富,尤其擅长专利无效、专利侵权诉讼、FTO分析、专利复审、专利申请布局等业务。




首页
电话
简介